柱式荷重感测器器就是种柱形结构类型的力敏判断试验装置,价值体系完成柱形韧性体反力产生的细小塑性形变,转为为中国联通号打印输出,推动对压为、拉力等荷重的精准性的测定。其节构坚硬、承受力力量强、抗电机负载功效好,综合精度高,长期稳定性好,动态响应频率高,优质合金钢表面镀镍。
具有广泛性主要用于于国家大力值试验报告机、细则测力仪、工作压力考试图片机器设施各类系统工业自动化设施研究方向和考试图片研究方向。
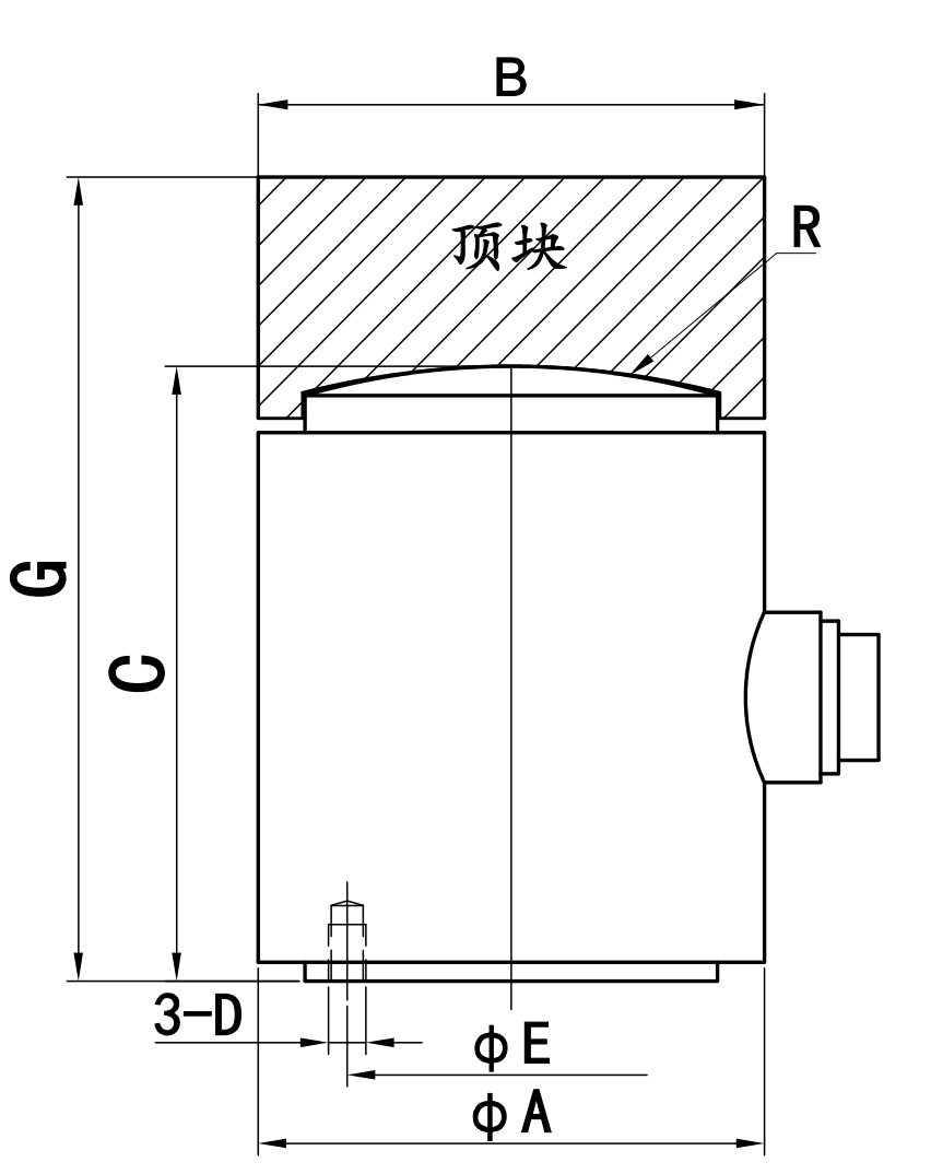
| 分度值 | ΦA | ΦB | ΦC | D | E | R | G |
| 30~50T | Φ78 | Φ78 | Φ100 | M6 | 55 | 100 | 125 |
| 60~100T | Φ98 | Φ98 | Φ110 | M6 | 75 | 120 | 140 |
| 200T | Φ128 | Φ128 | Φ140 | M6 | 100 | 200 | 180 |
| 300T | Φ154 | Φ154 | Φ170 | M8 | 120 | 300 | 215 |
| 500T | Φ196 | Φ196 | Φ220 | M10 | 150 | 400 | 275 |
| 700~1000T | Φ246 | Φ246 | Φ282 | M16 | 190 | 500 | 352 |
传感器接线示意图: 传感器受力图:


| 参 数 | 技术参数 | 参 数 | 技术参数 |
| 量程 | 0~1000T | 材质 | 合金钢 |
| 输出灵敏度 | 2.0/3.0±10%mV/V | 阻抗 | 700Ω |
| 零点输出 | ±2%F.S. | 绝缘电阻 | ≥5000MΩ/100VDC |
| 非线性 | 0.3%F.S. | 使用电压 | 5~15V |
| 滞后 | 0.1%F.S. | 工作温度范围 | -20~80℃ |
| 重复性 | 0.1%F.S. | 安全过载 | 150%F·S |
| 蠕变(30分钟) | 0.05%F.S. | 极限过载 | 200% |
| 温度灵敏度漂移 | 0.05%F.S./10℃ | 电缆线规格 | Φ5x3m |
| 零点温度漂移 | 0.05%F.S./10℃ | 线缆极限拉力 | 10kg |
| 响应频率 | 10kHz |
1.J9.COM为客户提供安装调试服务,以及其他技术咨询,必要时技术人员可上门提供技术培训。客户如有技术上疑问,技术人员将在4个小时内给出回复。
2.J9.COM车辆严厉依照规定ISO9001新国际设备品质体系中订制生产加工,感测器器车辆整车保质半年.多功能仪表类车辆整车保质五年,7天包换货,无期限返修。(人因毁坏不再整车保质领域,订制车辆无设备品质大问题没退不用换。)3.因质量问题造成的退换货,J9.COM将承担退换货运费。非质量问题退换货费用将由客户承担。
注:质量问题是指功能,尺寸、指标、安装方式等定制参数未按照客户提出的要求定制,功能不符,尺寸误差,精度不准(误差范围内除外)。
定制产品需双方确认图纸后加工生产,如产品不符合客户要求需在二周内提出书面异议,客户未按规定期限提出异议视为验收合格。
如在期限内提出异议,双方确认后确属产品质量问题或未按双方确认后的要求生产,可调换或退款。如无质量问题,且发货型号与合同签订型号完整无误,则不提供退换货服务。
售后咨询
能力咨询了解。、返厂修补、增值税专票、网络投诉小编建议等相关的状况。售后客服服务性热线电话021-51601181
机构大众用户群体号
工业企业抖音小视频号
中小型企业短视频号
工业企业消息
品牌和攻略