悬臂梁式感知器活力体通过切剪或弯折悬臂梁格局,那端固定位置、那端载荷,自己的外观髙度低,格局比强高,可以用于很多剪切力和文件压缩力的承载过重,这个是需要注意的,液晶屏要控制在适合的数量内和检测的。还具有防水密封垫、分度值条件广、要求高、耐腐蚀性相对稳定可信度、安装便用便用便于等优点和缺点。
具有广泛性适于于電子秤、电子衡器等各方面测力、称准的轻工业自动的化侧量抑制体系。
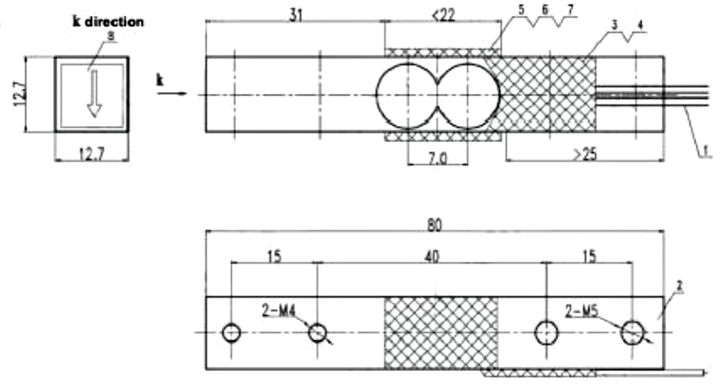
传感器接线示意图: 传感器受力图:


| 参 数 | 技术参数 | 参 数 | 技术参数 |
| 量程 | 10kg | 零点输出 | ±0.1%F.S. |
| 精度 | 0.05%F.S. | 输入电阻 | 1000±10Ω |
| 额定输出 | 1.0±0.15%F.S. | 输出电阻 | 1000±10Ω |
| 非线性 | ±0.05%F.S. | 绝缘电阻 | ≥2000MΩ |
| 迟滞 | ±0.05%F.S. | 温度补偿范围 | -10~40℃ |
| 蠕变 | ±0.03%F.S. | 激励电压 | 5~12V |
| 零点温度系数 | ±0.05%F.S./10℃ | 电气连接 | 红/E+,黑/E-, 绿S+,白/S- |
| 灵敏度温度系数 | ±0.05%F.S./10℃ | 材质 | 铝合金 |
1.J9.COM为客户提供安装调试服务,以及其他技术咨询,必要时技术人员可上门提供技术培训。客户如有技术上疑问,技术人员将在4个小时内给出回复。
2.J9.COM护肤品要严依据ISO9001国际联盟线品质指标体系的设计生产销售,感测器器护肤品保修一年.多功能仪表类护肤品保修4年,7天包换货,无限期保修。(因人损害不是保修使用范围,设计护肤品无线品质故障 拒退只换。)3.因质量问题造成的退换货,J9.COM将承担退换货运费。非质量问题退换货费用将由客户承担。
注:质量问题是指功能,尺寸、指标、安装方式等定制参数未按照客户提出的要求定制,功能不符,尺寸误差,精度不准(误差范围内除外)。
定制产品需双方确认图纸后加工生产,如产品不符合客户要求需在二周内提出书面异议,客户未按规定期限提出异议视为验收合格。
如在期限内提出异议,双方确认后确属产品质量问题或未按双方确认后的要求生产,可调换或退款。如无质量问题,且发货型号与合同签订型号完整无误,则不提供退换货服务。
售后咨询
技术水平资询、返厂抢修、专用发票、投述改进措施等各种相关事情。售后客服服务培训热线电话021-51601181
中小企业大学生消费群体号
行业快手视频号
公司企业视頻号
企业主网页微博
制造业企业聚美优品书