橡胶管型高温熔体压力变送器,确保压的侧量与有效把握;其中摆变大电路设计,途经变大的走势灯也可简单复制粘贴PLC有效把握设计,內部80%校正走势灯。该类型食品为国内外丰富使用的,资源优势是压侧量准确性稳定。
具有广泛性操作于页岩油化工厂、化纤厂纺机、无防布、塑胶、塑料、抽出的设备等制造业。

| 分度值 | 0~3.5MPa...0~150MPa(0~500psi...0~20000psi) |
| 过载保护有压力 | 150%FS |
| 综合性精密度较 | ±1.0%FS,±1.5%FS(比如线性网络、按顺序性和滞缓性) |
| 输出电压预警 | 3.33mV/V、2mV/V |
| 输出的电压 | 24VDC |
| 重新性 | ±0.2%FS |
| 回应线速度 | ≤5ms |
| 输入输出输出阻抗 | 350 Ohms±10% |
| 室内自调校 | 80%FS±1% |
| 膜片耐低温 | 最高400℃ |
| 膜片涂料 | 17-4PH 带金属涂层的304不绣钢 |
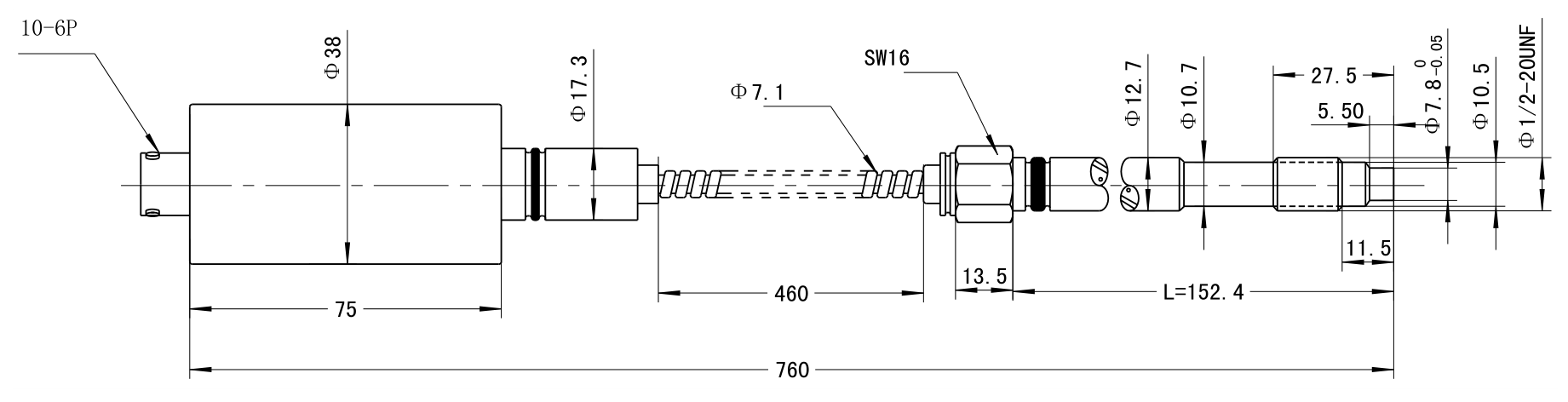
| 组合件连到 | 五芯飞机公司组件,六芯飞机公司组件 |
| 过程中 对接 | 1/2”-20UNF,M14 x 1.5,M18 x 1.5,M22 x 1.5,G 3/4 |
1.J9.COM为客户提供安装调试服务,以及其他技术咨询,必要时技术人员可上门提供技术培训。客户如有技术上疑问,技术人员将在4个小时内给出回复。
2.J9.COM设备从紧如果根据ISO9001新国际安全性能风险管理体系设计制作生產,感测器器设备整机保修期限期一年四年.仪表盘类设备整机保修期限期一年四年,7天申请退货货,一生维修培训。(不可避免丢失不再整机保修期限期一年规模,制作设备无安全性能话题不返只换。)3.因质量问题造成的退换货,J9.COM将承担退换货运费。非质量问题退换货费用将由客户承担。
注:质量问题是指功能,尺寸、指标、安装方式等定制参数未按照客户提出的要求定制,功能不符,尺寸误差,精度不准(误差范围内除外)。
定制产品需双方确认图纸后加工生产,如产品不符合客户要求需在二周内提出书面异议,客户未按规定期限提出异议视为验收合格。
如在期限内提出异议,双方确认后确属产品质量问题或未按双方确认后的要求生产,可调换或退款。如无质量问题,且发货型号与合同签订型号完整无误,则不提供退换货服务。
售后咨询
技能详询、返厂维修售后服务、开票、举报最好等各种相关一些问题。售后售后服务售后服务电语021-51601181
中小企业大众用户群体号
企业主抖音小视频号
机构短视频号
单位消息
商家和小红书app